QR код
Производи
Контактирајте не


Факс
+86-574-87168065

Е-пошта

Адреса
Индустриска област Луотуо, округ Женхаи, градот Нингбо, Кина
Универзалната спојка за заварување SWC-BH стандардно флексно заварување на Raydafon е конструирана специјално за пренос на вртежен момент во тешки сценарија за тешки машини - помислете на валавници, кранови и опрема за рударство што работат под постојан висок стрес.
Доаѓа со заварен јарем како клучна дизајнерска карактеристика, а неговите дијаметри на вртење опфаќаат практичен опсег: од 180 mm до 620 mm. Она што го издвојува за тешките работи е неговата способност да се справува со аголни неусогласувања до 15 степени, плус може да преземе оптоварување со вртежен момент до 1250 kN·m - и двете клучни за одржување на стабилните операции дури и во тешки работни услови.
Квалитетот на градбата е фокусиран на издржливоста: спојката користи челик со висока цврстина 35CrMo за долготрајна цврстина, поврзан со прецизни иглени лежишта за да се обезбеди непречено, доверливо изведба со текот на времето. Ова го прави главен избор за две клучни потреби: универзални спојки прилагодени за тешки машини и заварени универзални спојки погодни за апликации од индустриско ниво.
Raydafon ја произведува оваа спојка во Кина и целото производство ги следи стандардите ISO 9001 за да гарантира постојан квалитет. Згора на тоа, нуди сопствени опции за да одговараат на специфичните барања - сите по цени кои остануваат конкурентни за бизнисите кои бараат и сигурност и вредност.
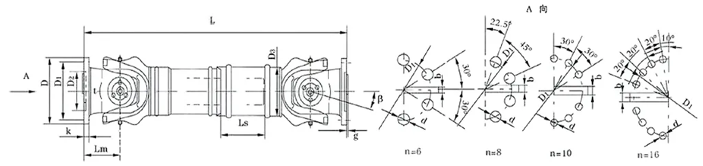
| бр. | Дијаметар на вртење Д мм | Номинален вртежен момент Тн KN·m | Агол на преклопување на оските β (°) | Уморен вртежен момент Тф KN·m | Флекс количина Ls mm | Големина (мм) | Ротирачка инерција kg.m2 | Тежина (кг) | |||||||||||
| Lmin | Д1 (js11) | Д2 (H7) | Д3 | Lm | n-d | k | t | б (h9) | g | Lmin | Зголемување 100 мм | Lmin | Зголемување 100 мм | ||||||
| SWC58BH | 58 | 0.15 | 0.075 | ≤22 | 35 | 325 | 47 | 30 | 38 | 35 | 4-5 | 3.5 | 1.5 | - | - | - | - | 2.2 | - |
| SWC65BH | 65 | 0.25 | 0.125 | ≤22 | 40 | 360 | 52 | 35 | 42 | 46 | 4-6 | 4.5 | 1.7 | - | - | - | - | 3 | - |
| SWC75BH | 75 | 0.5 | 0.25 | ≤22 | 40 | 395 | 62 | 42 | 50 | 58 | 6-6 | 5.5 | 2 | - | - | - | - | 5 | - |
| SWC90BH | 90 | 1 | 0.5 | ≤22 | 45 | 435 | 74.5 | 47 | 54 | 58 | 4-8 | 6 | 2.5 | - | - | - | - | 6.6 | - |
| SWC100BH | 100 | 1.5 | 0.75 | ≤25 | 55 | 390 | 84 | 57 | 60 | 58 | 6-9 | 7 | 2.5 | - | - | 0.0044 | 0.00019 | 6.1 | 0.35 |
| SWC120BH | 120 | 2.5 | 1.25 | ≤25 | 80 | 485 | 102 | 75 | 70 | 68 | 8-11 | 8 | 2.5 | - | - | 0.0109 | 0.00044 | 10.8 | 0.55 |
| SWC150BH | 150 | 5 | 2.5 | ≤25 | 80 | 590 | 13 | 90 | 89 | 80 | 8-13 | 10 | 3 | - | - | 0.0423 | 0.00157 | 24.5 | 0.85 |
| SWC160BH | 160 | 10 | 5 | ≤25 | 80 | 660 | 137 | 100 | 95 | 110 | 8-17 | 15 | 3 | 20 | 12 | 0.145 | 0.006 | 68 | 1.72 |
| SWC180BH | 180 | 20 | 10 | ≤25 | 100 | 810 | 155 | 105 | 114 | 130 | 8-17 | 17 | 5 | 24 | 14 | 0.175 | 0.007 | 70 | 2.8 |
| SWC200BH | 200 | 32 | 16 | ≤15 | 110 | 860 | 170 | 120 | 127 | 135 | 8-17 | 19 | 5 | 28 | 16 | 0.31 | 0.013 | 86 | 3.6 |
| SWC225BH | 225 | 40 | 20 | ≤15 | 140 | 920 | 196 | 135 | 152 | 120 | 8-17 | 20 | 5 | 32 | 9 | 0.538 | 0.0234 | 122 | 4.9 |
| SWC250BH | 250 | 63 | 31.5 | ≤15 | 140 | 1035 | 218 | 150 | 168 | 140 | 8-19 | 25 | 6 | 40 | 12.5 | 0.966 | 0.0277 | 172 | 5.3 |
| SWC285BH | 285 | 90 | 45 | ≤15 | 140 | 1190 | 245 | 170 | 194 | 160 | 8-21 | 27 | 7 | 40 | 15 | 2.011 | 0.051 | 263 | 6.3 |
| SWC315BH | 315 | 125 | 63 | ≤15 | 140 | 1315 | 280 | 185 | 219 | 180 | 10-23 | 32 | 8 | 40 | 15 | 3.605 | 0.0795 | 382 | 8 |
| SWC350BH | 350 | 180 | 90 | ≤15 | 150 | 1410 | 310 | 210 | 267 | 194 | 10-23 | 35 | 8 | 50 | 16 | 7.053 | 0.2219 | 582 | 15 |
| SWC390BH | 390 | 250 | 125 | ≤15 | 170 | 1590 | 345 | 235 | 267 | 215 | 10-25 | 40 | 8 | 70 | 18 | 12.164 | 0.2219 | 738 | 15 |
| SWC440BH | 440 | 355 | 180 | ≤15 | 190 | 1875 | 390 | 255 | 325 | 260 | 16-28 | 42 | 10 | 80 | 20 | 21.42 | 0.4744 | 1190 | 21.7 |
| SWC490BH | 490 | 500 | 250 | ≤15 | 190 | 1985 | 435 | 275 | 325 | 270 | 16-31 | 47 | 12 | 90 | 22.5 | 32.86 | 0.4744 | 1452 | 21.7 |
| SWC550BH | 550 | 710 | 355 | ≤15 | 240 | 2300 | 492 | 320 | 426 | 305 | 16-31 | 50 | 12 | 100 | 22.5 | 68.92 | 1.357 | 2380 | 34 |
Кога зборуваме за тешка индустриска опрема која обезбедува сигурно проток на струјата, универзалната спојка на SWC (често наречена универзална спојка за спојување на карданско вратило SWC) е дел за кој не може да се преговара. Ќе ви биде тешко да работите во поставки како што се тркалачки мелници, машини за дигање и сите видови тешки системи за тешки машини - места каде што сечење на аглите при преносот на струја едноставно не е опција.
Нејзината главна работа? Поврзете две вратила за менувачот што не се наредени совршено (оски што не се совпаѓаат) и погрижете се напојувањето да се движи без пречки, дури и кога работните услови стануваат груби. Без пелтечење, без прекини - само стабилен трансфер кога е најважно.
Ајде да ги разложиме неговите клучни спецификации што ја овозможуваат оваа изведба:
Дијаметар на вртење: се движи од φ58 до φ620, покривајќи широк распон на индустриски потреби. Номинален вртежен момент: Ракува насекаде од 0,15 kN·m до 1000 kN·m — доволно мускули дури и за барања со висок вртежен момент. Агол на превиткување на оската: може да зафаќа агли до 25°, со совршена функција на окното без компромис.
Каде најмногу се истакнува? Размислете за работата на валавницата - каде што делува како сигурна тешка универзална спојка за спојување што се држи под силниот притисок на мелницата. Или во опремата за подигање и ракување со материјали, каде што како издржлива SWC универзална спојка на оската за спојување, ги одржува работите стабилни дури и кога товарот станува тежок. Тоа не само што функционира - ги одржува операциите стабилни кога работите стануваат тешки.
Универзалната спојка на SWC не е само споена заедно - таа е дизајнирана од темел за да стои цврста во индустриски услови, со карактеристики што ги зголемуваат перформансите и долговечноста. Ајде внимателно да погледнеме што ја прави нејзината структура да работи толку добро.
Паметен, безбеден дизајн
Во неговото јадро е интегриран дизајн на главата на вилушката - овде нема посебни делови што се држат заедно со завртки. Ова е важно затоа што го намалува ризикот од откачување или пукање на завртките, честа главоболка кај другите поставки. Всушност, овој дизајн ја зголемува структурната цврстина за 30% до 50% во споредба со постарите стилови. За секој што се потпира на универзална спојка за зглобови од тешка машинерија, тоа значи помалку дефекти кога работите стануваат интензивни. Тоа е вид на робусна универзална спојка за спојување што продолжува да работи непречено, дури и во средини со висок стрес каде што другите делови може да откажат.
Изграден да го носи товарот
Ова не е вашиот просечен конектор. Тешката универзална спојка на SWC е направена за да се справи со сериозна тежина - размислете за опрема за рударство, градежни машини и други тешки удари. Кога ви е потребна цврста универзална спојка за спојување што нема да се повлече под притисок, ова е она што дава. Не се работи само за големината; Станува збор за материјалите и инженерството кои работат заедно за да ја преземе тежината без брзо да се истроши.
Ефикасно ја движи моќноста
Дали некогаш сте се запрашале каде оди целата енергија во големите индустриски поставки? Тука не се троши многу. Оваа универзална спојка со висок вртежен момент достигнува нивоа на ефикасност до 98,6%, што значи помалку изгубена енергија како топлина или триење. За операции кои сакаат да ги намалат трошоците, тоа е голема победа. Тоа е вид на ефикасна универзална спојка што прави разлика во големите системи за пренос на енергија, делувајќи како сигурна универзална спојка за спојување што ги држи сметките за енергија под контрола.
Тивко и стабилно
Гласните машини може да бидат вистински проблем, особено во простори каде што бучавата е важна. Универзалната спојка на SWC ги одржува работите мирни, со нивоа на бучава обично помеѓу 30-40 dB(A) - потивко од вообичаениот разговор. Тоа го прави одлична универзална спојка за спојување со низок шум за средини каде што е клучно одржувањето на звукот, без да се жртвува доверливоста што ви треба. Без разлика дали е во фабрички под или во прецизна работилница, оваа непречена универзална спојка за спојување ја завршува работата без рекет.
Универзалната спојка SWC-BH Standard Flex Welding Type не е само уште еден дел - тоа е работна сила создадена за ефикасно да ја движи струјата, дури и кога машините се под голем стрес. Ајде да распаднеме каде што навистина свети.
Земете ги на пример тешките машини и градежната опрема. Кога се соочувате со екстремни оптоварувања и постојани вибрации - помислете на багери или булдожери - оваа спојка не се повлекува. Неговиот заварен дизајн додава дополнителна цврстина, така што ги надминува послабите опции кои може да пукнат или да се истрошат од сето тоа движење. Тоа е вид на универзална спојка со висок вртежен момент што ја одржува струјата, без разлика колку е груба работата.
Во фабриките, особено на транспортните линии и системите за склопување, прецизноста е важна. Оваа универзална спојка од индустриско ниво се справува со аглите и се менува во порамнување без прескокнување на отчукување, одржувајќи ги брзините стабилни. Тоа значи помалку време за поправање на дефектите и повеќе време за одржување на производството на вистинскиот пат. На инженерите им се допаѓа затоа што се прилагодува на аксијални, радијални и аголни неусогласувања - мали поместувања што можат да ги исфрлат другите делови.
Во автомобилската индустрија и транспортот, на погонските вратила им треба нешто сигурно за непречено да ја пренесуваат струјата. SWC-BH се вклопува веднаш, без разлика дали е во камиони, возови или други возила. Неговиот флексибилен дизајн за заварување го олеснува вметнувањето во постоечките поставки, ракувајќи со големи брзини без да се сече на аглите на безбедност. Тоа е универзална спојка на погонското вратило за одржување на работите во движење.
Морската и офшор работата е тешка за опремата - солена вода, сурово време, непредвидливи оптоварувања. И овде оваа спојка го држи своето. Како морска универзална спојка отпорна на корозија, се спротивставува на прскање со сол и разбрануваното море, одржувајќи ги моторите на бродот и помошните машини постојано да работат. Без дефекти поврзани со 'рѓа, без неочекувани исклучувања.
Поставките за обновлива енергија како што се турбините на ветер и сончевите тракери имаат потреба од делови што не трошат енергија. SWC-BH се засили како универзална спојка за обновлива енергија, пренесувајќи ја енергијата со едвај никакви реакции. Ги исполнува светските стандарди за квалитет, па без разлика дали е во фарма на ветер во Европа или соларна централа во Азија, испорачува.
Во Raydafon, ние не ги продаваме само овие спојки - ние ги приспособуваме. Ви треба одредена големина, материјал или капацитет на вртежен момент? Нашиот тим го менува SWC-BH за да одговара на вашите точни потреби. Обратете се и ние ќе ви помогнеме да го извлечете максимумот од вашиот систем.
Кога барате некого на кого ќе му верувате на механичките компоненти - особено работи како што е SWC-BH Standard Flex Welding Type универзална спојка - Raydafon не е само уште една опција. Ние сме производител кој живее и дише со квалитет, а тоа се покажува во секој дел што го правиме.
Прво, квалитетот не е последователна мисла за нас. Користиме врвни инженерски техники и ја ставаме секоја универзална спојка за спојување - без разлика дали е висок вртежен момент за тешки машини или индустриски модел за фабрички поставки - преку строги проверки. Секој дел ги исполнува ISO 9001 стандардите, а ние напорно ги тестираме: екстремни оптоварувања, груби услови, што и да фрли вашата индустрија. Целта? Без неочекувани дефекти, помал ризик за вашите операции и спојка што ја одржува работата на вашите системи непречено.
Потоа, тука е прилагодувањето. Да бидеме реални - нема две исти работни места. Можеби ви е потребна универзална спојка на погонското вратило со специфични димензии, или универзална спојка за морски погонски погон направен од материјал отпорен на корозија, или дури и универзална спојка за обновлива енергија, наместена за вистинскиот вртежен момент. Ние не ве тераме да одговарате на делот „една големина што одговара на сите“. Кажете ни што ви треба и ние ќе го приспособиме да влезе директно во вашето постоечко поставување - без разлика дали тоа е во автомобилски, морски или соларни/ветерни системи.
И добиваме дека трошоците се важни, исто така. Не треба да избирате помеѓу добра спојка и фер цена. Го оптимизиравме нашиот синџир на снабдување и го зголемивме нашето производство за да можеме да понудиме конкурентни цени дури и за специјализирани делови - како универзалната спојка за морски погон или индустриски модел со висок вртежен момент - без намалување на квалитетот. Станува збор за да ви даде вредност што трае, а не само евтин дел што брзо пропаѓа.
Нашиот тим не исчезнува откако ќе постигнете „наредба“. Од првиот повик - кога се обидувате да откриете која универзална спојка за спојување најдобро функционира за вашата опрема за обновлива енергија или фабричка линија - до поддршка по продажбата ако имате прашања, ние сме тука. Имаме долгогодишно искуство во индустријата, па можеме да ве водиме до вистинскиот избор, да ви помогнеме да избегнете прекини и да се погрижиме вашата спојка да го прави токму она што ви треба.
Во Raydafon, ние не продаваме само делови - градиме партнерства. Сакаме да бидеме тимот на кој му верувате за да ги продолжи вашите операции напред, со универзални заеднички решенија кои работат напорно како и вие. Ако имате специфични потреби, контактирајте со нашите специјалисти денес - ајде да разговараме за тоа како можеме да помогнеме.
Адреса
Индустриска област Луотуо, округ Женхаи, градот Нингбо, Кина
тел
Е-пошта


+86-574-87168065


Индустриска област Луотуо, округ Женхаи, градот Нингбо, Кина
Авторски права © Raydafon Technology Group Co., Limited Сите права се задржани.
Links | Sitemap | RSS | XML | Политика за приватност |
