QR код
Производи
Контактирајте не


Факс
+86-574-87168065

Е-пошта

Адреса
Индустриска област Луотуо, округ Женхаи, градот Нингбо, Кина
Ако работите со тешки машини - како што се челични валани кои исфрлаат метал во сите смени, кранови што креваат тони материјал или опрема за рударство што се бори со прашина и притисок под земја - потребна ви е спојка што нема да ве изневери. Токму за тоа е изградена универзалната спојка за заварување SWC-BH стандардно флексно заварување на Raydafon: сигурен пренос на вртежен момент, дури и кога работата станува груба.
Прво, да разговараме за неговиот дизајн. Заварениот јарем не е само карактеристика - тоа е промена на играта. За разлика од завртените јареми кои може да се олабават со текот на времето, овој е заварен цврст, така што нема ризик деловите да се тресат кога вашата машина работи напорно. Исто така, одговара на низа поставки, со дијаметар на вртење од 180 mm до 620 mm - нема потреба да барате опција за една големина. Како стандардна флексибилна универзална спојка, таа се справува со аголна неусогласеност до 15 степени, што значи дека ако вашите вратила не се совршено наредени (а да бидеме реални, тие ретко се), сè уште ја одржува струјата во движење. Дури и кога вртежниот момент достигнува 1250 kN·m - сериозна моќност - тој останува стабилен, без пелтечење, без падови.
Не штедевме ни на материјали. Работата е направена од челик 35CrMo — материјал со висока јачина што е отпорен на абење, дури и кога се удира во рудник или се загрева во близина на валавница. Плус, ставаме прецизни иглени лежишта за да се движи мазно, да го намалува триењето и да трае многу подолго од поевтините спојки. Тоа е причината зошто тоа е опција за универзални спојки за тешки машини - не работи само неколку недели; се држи наоколу, одржувајќи ја вашата опрема да работи. И ако ви требаат заварени универзални спојки за индустриски апликации? Ова е сè - заварениот дизајн подобро се справува со вибрациите и стресот од алтернативите со завртки, така што поминувате помалку време за поправање и повеќе време за работа.
Во Raydafon, ги правиме овие во Кина, но не го намалуваме квалитетот. Секој чекор ги следи стандардите ISO 9001 - го проверуваме челикот, ги проверуваме заварите, ги тестираме лежиштата - за да знаете дека добивате спојка што ги исполнува глобалните правила за квалитет. И ако вашето поставување е малку поинакво? Ние правиме прилагодени прилагодувања - ја прилагодуваме големината, ги дотеруваме спецификациите - што и да ви треба за да одговара. Најдобриот дел? Не се цени како луксузен дел. Добивате издржлива универзална спојка која работи напорно, без да платите цело богатство. За сите кои не можат да си дозволат застој, оваа спојка SWC-BH е вид на сигурно парче што ја одржува вашата машина во движење, од ден на ден.
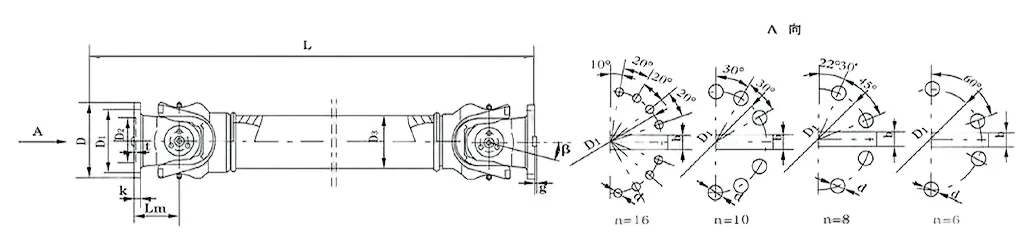
| бр. | Дијаметар на вртење Д мм | Номинален вртежен момент Тн KN·m | Агол на преклопување на оските β (°) | Уморен вртежен момент Тф KN·m | Големина (мм) | Ротирачка инерција kg.m2 | Тежина (кг) | |||||||||||
| Lmin | Д1 (js11) | Д2 (H7) | Д3 | Lm | n-d | k | t | b (h9) | g | Lmin | Зголемување 100 мм | Lmin | Зголемување 100 мм | |||||
| SWC100WH | 100 | 1.25 | 0.63 | 25° | 243 | 84 | 57 | 60 | 55 | 6-9 | 7 | 2.5 | - | - | 0.0039 | 0.00019 | 4.5 | 0.35 |
| SWC120WH | 120 | 2.5 | 1.25 | 25° | 307 | 102 | 75 | 70 | 65 | 8-11 | 8 | 2.5 | - | - | 0.0096 | 0.00044 | 7.7 | 0.55 |
| SWC150WH | 150 | 5 | 25 | 25° | 350 | 130 | 90 | 89 | 80 | 8-13 | 10 | 3 | - | - | 0.371 | 0.00157 | 18 | 24.5 |
| SWC180WH | 180 | 12.5 | 6.3 | 25° | 180 | 155 | 105 | 114 | 110 | 8-17 | 17 | 5 | - | - | 0.15 | 0.007 | 48 | 2.8 |
| SWC225WH | 225 | 40 | 20 | 15° | 520 | 196 | 135 | 152 | 120 | 8-17 | 20 | 5 | 32 | 9 | 0.365 | 0.0234 | 78 | 4.9 |
| SWC250WH | 250 | 63 | 31.5 | 15° | 620 | 218 | 150 | 168 | 140 | 8-19 | 25 | 6 | 40 | 12.5 | 0.817 | 0.0277 | 124 | 5.3 |
| SWC285WH | 285 | 90 | 45 | 15° | 720 | 245 | 170 | 194 | 160 | 8-21 | 27 | 7 | 40 | 15 | 1.756 | 0.051 | 185 | 6.3 |
| SWC315WH | 315 | 125 | 63 | 15° | 805 | 280 | 185 | 219 | 219 | 10-23 | 32 | 8 | 40 | 15 | 2.893 | 0.0795 | 262 | 8 |
| SWC350WH | 350 | 180 | 90 | 15° | 875 | 310 | 210 | 267 | 194 | 10-23 | 35 | 8 | 50 | 16 | 5.013 | 0.2219 | 374 | 15 |
| SWC390WH | 390 | 250 | 125 | 15° | 955 | 345 | 235 | 267 | 215 | 10-25 | 40 | 8 | 70 | 18 | 8.406 | 0.2219 | 506 | 15 |
| SWC440WH | 440 | 355 | 180 | 15° | 1155 | 390 | 255 | 325 | 260 | 16-28 | 42 | 10 | 80 | 20 | 15.79 | 0.4744 | 790 | 21.7 |
| SWC490WH | 490 | 500 | 250 | 15° | 1205 | 435 | 275 | 325 | 270 | 16-31 | 47 | 12 | 90 | 22.5 | 26.54 | 0.4744 | 1014 | 21.7 |
| SWC550WH | 550 | 710 | 355 | 15° | 1355 | 492 | 320 | 426 | 325 | 16-31 | 50 | 12 | 100 | 22.5 | 48.32 | 1.357 | 1526 | 34 |
Ако ви е здодевно да се справувате со напорни спојки кои ја забавуваат вашата работа или се расипуваат кога ви се најпотребни, SWC-WH на Raydafon без универзална спојка од типот на флекс заварување ја менува играта. Тој е преполн со поволности што го прават врвен избор за сите кои имаат потреба од непречен пренос на вртежен момент во механичките системи - без збунувачки чекори за заварување, само солидни перформанси што се вклопуваат директно во вашиот работен тек.
Прво, инсталирањето на оваа работа е многу полесно отколку што мислите. За разлика од заварените спојки кои ве принудуваат да внесете дополнителни алатки или да чекате заварувањето да се зацврсти, SWC-WH користи дизајн со завртки. Можете брзо да го внесете во постоечкото поставување и кога е време за одржување? Одвојувањето е лесно, така што вашата индустриска опрема поминува помалку време во мирување. Затоа е толку одлична разноврсна универзална спојка за зглобови со висок вртежен момент - нема главоболки за време на застој, само влезете, поправете го она што ви треба и вратете се на работа.
Во однос на издржливоста, тој е изграден да го зацврсти. Користиме тешки материјали кои се справуваат со големи товари и постојани вибрации без треперење - совршени за зафатени индустриски места каде опремата никогаш не се прекинува. И бидејќи нема заварување, не мора да се грижите за оние слаби точки што се појавуваат кога заварите се истрошуваат со текот на времето. Ова не е спојка што ќе треба да се заменува на секои неколку месеци; тоа е сигурна универзална спојка за индустриски машини што се држи наоколу, одржувајќи ги вашите операции стабилни.
Несогласувања? Нема проблем. Оските никогаш не остануваат совршено наредени, особено во автомобилските или транспортните системи, но SWC-WH се справува со аголните, аксијалните и радијалните отстапувања како професионалец. Тоа е вид на универзална спојка за спојување на погонското вратило што го одржува непречено движење на струјата дури и кога порамнувањето се влошува - без грчеви, без падови, само постојани перформанси.
И да зборуваме за трошоците. Заварувањето додава дополнителна работна и материјална такси, но оваа спојка го прескокнува сето тоа. Добивате квалитетен производ без прекумерно трошење, што е голема добивка за секој буџет. Дури и во незгодни места како морски поставки, каде што корозијата е постојана закана, таа стои како сигурна морска универзална спојка за спојување - цврста против солената вода, лесно за вашиот паричник.
Ако сте за обновливи извори на енергија, оваа спојка исто така се вклопува. Тоа е цврста универзална спојка за опрема за обновлива енергија која ефикасно ја придвижува енергијата, без едвај отпад. Плус, тој е лесен, така што не го оптоварува вашиот систем - одлично за одржување на работите одржливо без да се жртвуваат перформансите.
Во Raydafon, ние не продаваме само спојки - ние правиме такви што одговараат на вашите потреби. SWC-WH е приспособлив, така што работи точно како што сакате. Ако сте љубопитни како може да ги направи вашите операции помазни, само посетете го нашиот тим. Ќе ве прошетаме, без жаргон - само директно разговарајте за тоа што оваа спојка може да направи за вас.
Raydafon's SWC-WH без универзална спојка од типот на флексно заварување функционира надвор од основното знаење на механиката на карданските зглобови - но ние го дотеруваме за да се погоди потешко за индустриските работни места. Целата поента? Добијте вртежен момент да се движи непречено помеѓу две вратила кои не се совршено наредени, дури и кога се под агол. Како наменска универзална спојка за спојување со карданско вратило SWC, користи парче во облик на крст во средината за да го одржува стабилно течењето на ротационата моќ - токму затоа е универзална спојка за спојување со висок вртежен момент за тешки работи како што се тркалачки мелници или машини за дигање.
Ајде да ја разложиме суштината на тоа како функционира: има два чаталести јарем и тие се поврзани со централен крст (ние го нарекуваме пајак). Ова поставување им дозволува на јаремите да се вртат во повеќе насоки - па дури и ако вратилата се поместени до 25° (тоа е нејзиниот максимален агол на преклопување на оската), вртежниот момент сепак се пренесува рамномерно. Има спецификации за да го поткрепи тоа, исто така: дијаметарот на вртење се движи од φ58 до φ620 и се справува со номинален вртежен момент од 0,15 до 1000 kN·m. Кога го користите како тешка универзална спојка за спојување за валавници, овој дизајн значи дека влезната ротација се претвора во излезно движење без закачување - тие зглобни споеви се вртат сами за да ги надополнат неусогласеноста, без прекини.
Што го прави важен делот „без флекс заварување“? Ги заменивме заварите со завртки или стегани врски. Заварите може да бидат слаби точки со текот на времето, но овие прицврстувачи ги намалуваат ризиците од дефект - и го олеснуваат спојувањето заедно. Оваа индустриска универзална спојка за спојување има и надграден дизајн на главата на вилушката што го спречува олабавувањето на завртките, зголемувајќи ја неговата структурна цврстина за 30%-50%. Тоа е голема работа за места со барања како рудници или градилишта, каде што делува како издржлива универзална спојка на вратило на SWC - се држи под тешки товари без да се откажува.
Ефикасноста е уште една победа овде: достигнува до 98,6% ефикасност на преносот. Го конструиравме секој дел за да го намалиме триењето и енергетскиот отпад - така што не е изненадување што е ефикасна универзална спојка за спојување за голем пренос на енергија во индустриски поставки со висока моќност. И работи тивко: обично 30-40 dB(A). Тоа е благодарение на балансираната ротација и вграденото амортизирање на вибрациите - што го прави универзален спој за спојување со низок шум за места каде бучавата е проблем. Плус, ги намалува трошоците за енергија, па го проверува полето и за потребите за универзална спојка за заштеда на енергија.
Во тешките машини, универзалните системи за спојување на зглобовите, ова е најважно: SWC-WH рамномерно ги распределува силите низ сите негови делови. Ниту едно парче не бара премногу напор, што значи помалку дефекти и подолг животен век. Во Raydafon, ние не ја градиме оваа спојка само за да ги исполниме спецификациите - ја приспособуваме да работи за вашата работа, без разлика дали се работи за цврсти тешки машини или специјализирани индустриски поставки. Ако сакате да го прилагодите за да го направите вашиот систем да работи помазно или да трае подолго, само разговарајте со нашиот тим - ние ќе ви помогнеме да добиете поставка што точно одговара на она што ви треба.
⭐⭐⭐⭐⭐ Џанг Веи, машински инженер, Beijing Industrial Machinery Co., Ltd.
Имаме SWC-WH на Raydafon без универзална спојка за заварување со флексибилно заварување на нашата производна опрема веќе неколку месеци и има постојана изведба - особено кога ги притискаме нашите машини да се справат со високи оптоварувања. Она што навистина го ценам е неговата робусна градба: дури и при оние долги, тешки смени каде што другите делови би можеле да почнат да попуштаат, оваа спојка ги одржува работите непречено - без случајни вибрации, без ненадејни дефекти што ја отфрлаат целата наша линија.
Инсталирањето беше исто така лесно. Нашиот тим не требаше да троши часови за да открие сложени чекори; го монтиравме брзо и оттогаш не моравме да го дотеруваме. За тешката опрема како нашата, доверливоста и квалитетот не се преговараат, а оваа спојка ги проверува двете полиња. Raydafon докажа дека е партнер на кој можеме да сметаме овде - ние сме искрено задоволни од тоа како се одржува овој производ.
⭐⭐⭐⭐⭐ Џон Смит, менаџер на фабрика, производство на Флорида, САД
Ја ставив спојката SWC-WH на Raydafon во употреба во нашиот објект во Флорида пред неколку месеци, и беше токму она што ни требаше - едноставно, без врева и постојано ефективно. Преносот на енергија останува стабилен, што е клучно за одржување на нашето производство во темпо, и не сме морале ниту еднаш да го допреме за одржување. Тоа е голема победа за нас; помалку време за фиксирање на делови значи повеќе време за завршување на работата.
Дури и кога работиме напорно со машините, под голем стрес, оваа спојка не се тресе - таа само продолжува. Инсталирањето беше исто така јасна; нашите техничари го поставија за кратко време. И кога ќе ги споите тие перформанси со разумна цена? Тоа е солидна вредност. Плус, поддршката за корисници на Raydafon беше врвна кога имавме брзо прашање - тие брзо ни се вратија. Без сомнение, ќе продолжиме да ги користиме нивните производи надолу.
⭐⭐⭐⭐⭐ Роберто Силва, оперативен директор, Сао Паоло Engineering Solutions, Бразил
Соработуваме со Raydafon веќе некое време, но нивната спојка SWC-WH без Flex навистина се истакна во нашите операции - тоа е докажано дека вреди одново и одново. Првото нешто што го забележувате е неговата цврста конструкција; се чувствува изграден за да трае, а тоа значи доверливи перформанси на нашата машина.
Пред да се префрлиме на оваа спојка, се соочувавме со чести прекини поради проблеми со неусогласеност и предвремено абење на нашите стари делови. Сега? Тие проблеми ги нема. Тоа ни го скрати времето на застој, што беше огромен поттик за продуктивноста. И инсталација? Супер лесно - нашиот тим не губеше време за решавање проблеми. За секоја компанија на која и требаат делови за пренос на енергија на кои може да им веруваат, ова е бесмислено. Апсолутно би го препорачал.
⭐⭐⭐⭐⭐ Питер Милер, технички супервизор, Stuttgart Manufacturing GmbH, Германија
Ја користиме спојката SWC-WH на Raydafon во нашиот производствен погон во Штутгарт повеќе од шест месеци и тоа беше беспрекорно - сериозно, ниту еден проблем цело време. Неговиот дизајн е јасен, што ја прави инсталацијата смирена; нашиот тим го постави и беше подготвен да оди за кратко време, не беа потребни комплицирани чекори или специјални алатки.
Сепак, она што навистина ме импресионира е квалитетот. Заварувањето е чисто и цврсто, а материјалите се чувствуваат висококвалитетни - може да се каже дека не ги пресечеле аглите. Совршено се одржува при редовна употреба, покажувајќи нула знаци на абење дури и по месеци континуирана работа. Ние сме повеќе од задоволни со тоа како функционира овој производ и веќе е на нашата листа за користење за идни проекти.
Адреса
Индустриска област Луотуо, округ Женхаи, градот Нингбо, Кина
тел
Е-пошта


+86-574-87168065


Индустриска област Луотуо, округ Женхаи, градот Нингбо, Кина
Авторски права © Raydafon Technology Group Co., Limited Сите права се задржани.
Links | Sitemap | RSS | XML | Политика за приватност |
